Shopee
Luxury brands curated just for you 💎🌿Discover exclusive offers from The Whoo, Shu Uemura, and Calvin Klein Fragrances 🛒💖RM1,325.00 ~ RM2,159.00
Sold out
RM9.42
Sold out

RM1,325.00 ~ RM2,159.00
No more related products.
「
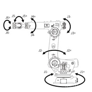
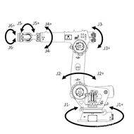
7 axis robot
」Related SearchesPrice range
-
Store filter
2 stores
Search settings
Hide sold-out items(2)
Hide spam









